Sign up for BellerBytes, the official (and private) Bryan Beller e-newsletter. Just click here to sign up. Do it, OK?

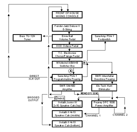
Below you'll find a block diagram of the entire signal path of my rig from 1988, the highest evolution of what I was running throughout the 90's up until I changed over to the SWR Mo' Bass for my main head in January of 2001. Feel free to scroll down below for an attempted rationale of why I used to do this. And remember, excruciatingly detailed information on each piece in the chain can be found by returning to the "for gearheads only" main page and clicking on the relevant sub-category.


Though it looks more complicated than what I'm running now, it's actually a more traditional setup in terms of how I used effects and how everything got to the front-of-house mix. But first things first.

The settings on the Fender Jazz Deluxe V were as follows: master volume up full, pan-pot centered (always), bass boosted about 40%, treble boosted about 20%, midrange boosted just a hair. The Ernie Ball volume pedal was for silent tuning and the infrequent volume swell. The Boss Tuner was standard-issue, and though mostly reliable had problems tracking low 'B' (an annoyance when I had to tune down to A# for Keneally's "Looking For Nina").

My pedalboard was a small, custom-made, Velcro-laden masterpiece by the one and only Thomas Nordegg. The chain went from the Volume pedal into the ancient DOD Octave Pedal, which by 1998 needed the occasional kick to work correctly, but always provided a decent, traditional octave. Then it was into the T.C. Chorus/Flange (a wonderful unit) before splitting at the Whirlwind A/A+B box. The 'A' signal was always on and went straight to the SansAmp PSA-1 Preamp. This may be misleading--I didn't use the PSA-1 as a preamp. I left it in true bypass mode for most of the time, except for when I wanted a slightly overdriven, "Ampeg"-type sound (used in the studio on Keneally's "'Cause of Breakfast"; used live on Keneally's "Performing Miracles", "Looking For Nina", "Weekend" and several others). Switching in and out was done by a small, custom footswitch which was mounted on the NordeggPedalboard. Most importantly, I sent my main direct signal to the board from the back of this unit, which truly was direct unless I had the PSA-1 "Ampeg" setting engaged. (By the way, the "Ampeg" sound I'm referring to was a custom job I programmed myself.) I had no problem with letting the Fender's direct-to-the-house sound carry the day for the majority of the time.

I then sent a ¼" output from the back of the PSA-1 to the front of the rack, namely the passive/active input of my trusty old SWR SM-400, made in 1989. (Details on particular settings for this cornerstone of my old rig can be found in the dedicated SM-400 section in this corner of the site.)

As I mentioned in the explanation of my current rig, I believe in power amp headroom, and as such I never run my amplifiers at impedances less than 8 ohms. So the SM-400 was bridged mono and then run into one Goliath II 4x10 cabinet (the bottom). At the same time, I ran the Mono Effects Send (a post-everything line out) to Channel 1 of the Peavey DPC1000 stereo power amp, which powered the second Goliath II 4x10 cabinet (the middle). Real simple: the SWR sound powered as loudly and with as much headroom as possible.

But then there was the 'B' rig--the overdrive channel. Back at the pedalboard I split the signal into 'A' (everything I just described above) and 'B'. 'A' was always on, and 'B' was something I clicked on as a distorted boost, in effect making my switcher an A/A+B box as mentioned previously. The 'B' signal went from the pedalboard to the input of the SWR Interstellar Overdrive, a full-boat preamp equipped with power amp tubes that I used as a wide-open distortion unit (exact settings are listed in the dedicated Interstellar Overdrive section of this site). The unbalanced out of the Stella (as I called her in shorthand) went through the Eb-Tech Hum Eliminator, a unit I picked up specifically because of ground problems between the Stella and the Peavey DPC1000. Anyway, after the hum was eliminated, the signal went into Channel 2 of the DPC1000, which powered an SWR Goliath Junior III 2x10 cabinet that sat on top of the other two 4x10's, making my rig nearly as tall as Manute Bol.

This 2x10 cabinet (with the tweeter totally cut) was miked, as the Stella's overdriven signal at the XLR output wasn't the way to go. But the sound that came out of the cabinet was ungodly, quite simply the best bass distortion I'd ever heard. And I made sure it was nice and loud when I kicked it on, but that didn't stop soundmen around the country from never mixing that channel as loud as it should have been. I can't tell you how many times I emphasized the point--"it's a boost channel, it's supposed to get louder when I kick it on"--but for one reason or another, whenever I listened back to audience recordings, it ended up sounding like some additional "edge" as opposed to flat-out grinding distortion like it sounded to me onstage. Every once in a while I heard it on a bootleg tape the way it should have been mixed everywhere, but usually it just didn't happen. (Note to self: clone self, train Beller II to become front-of-house engineer.) So I tried not to obsess over it, but after the twin 1998 tours I kept my eyes open for other alternatives. Then along the SWR Mo' Bass, which changed everything.


The 1998 tower of gear, in all its splendor.

I'll always remember this setup as the first time I really had what I wanted in a live rig in terms of power, sound and effects routing. And though it sounds like I'm nitpicking and unhappy about certain aspects of it in retrospect, for the most part I was very, very happy with its performance.

about | music | downloads | gallery | press | links & contact | literature | shop | home